教育数字化转型的领航者
省市级智慧教育服务商
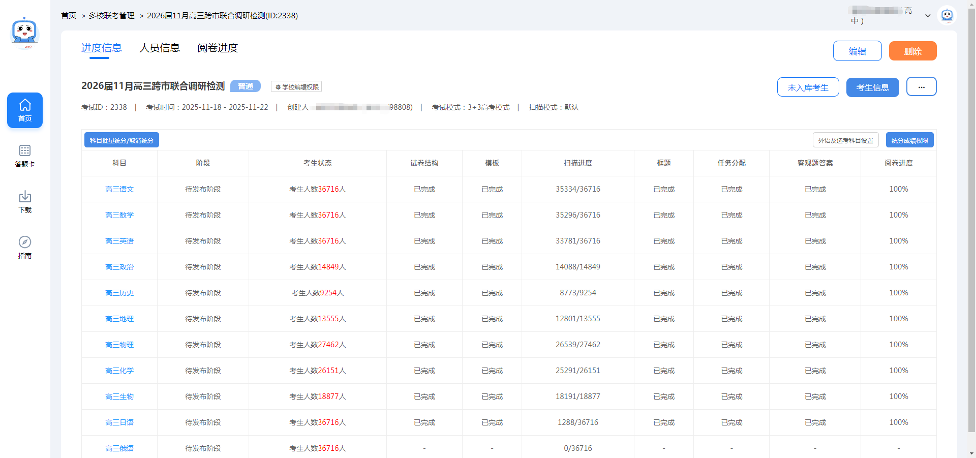
在刚刚圆满结束的2026届11月高三跨市联合调研检测中,桂林市引入爱探讨智能阅卷系统的代理服务商——小乐优阅,成功完成了对全市36716名高三考生答卷的评阅与分析。本次联考覆盖语文、数学、英语、政治、历史、地理、物理、化学、生物、日语、俄语等全部11个学科,标志着我市在教育测评服务的专业化与精准化方面迈上了新台阶。
专业代理,保障大型联考高效平稳运行
面对涉及数万考生、十一大学科的大型联合考试,传统的阅卷组织模式面临巨大挑战。本次联考首次由专业教育技术服务商小乐优阅代理实施“爱探讨”智能阅卷系统,为整个流程提供了强有力的技术支撑与运营保障。小乐优阅团队负责从试卷扫描、数据加密上传、系统部署、到后期报告生成的全流程服务,确保了阅卷工作的高效与数据安全,让各级教育部门和学校得以从繁重的考务工作中解脱出来,专注于教学本身。

“选择与小乐优阅合作,正是看中其在教育技术服务和本地化支持上的专业能力,”联考桂林考务组负责人表示,“他们不仅确保了‘爱探讨’系统以最佳状态运行,其专业的服务团队更是在考前培训和考中支持环节发挥了关键作用,保证了整个阅卷流程的零差错与高效率。”
技术赋能,深度挖掘学情数据价值

在小乐优阅的专业运维下,爱探讨智能阅卷系统的效能得到充分发挥。系统在快速、准确完成客观题批改和主观题智能评阅的同时,更借助其强大的数据分析引擎,为每位学生、每个班级和每所学校生成了个性化的多维学情诊断报告。这些报告精准勾勒出学生在各学科知识点上的掌握情况,甚至连语文作文的立意深度、外语写作的逻辑连贯性等抽象能力也被量化为可视数据,为教师的精准教学提供了前所未有的科学依据。
展望未来,共创智慧教育新生态
此次与小乐优阅的成功合作,为桂林市教育测评模式的创新树立了典范。专业服务商的引入,不仅解决了技术落地的“最后一公里”问题,更通过持续的技术支持和数据分析服务,将一次性的考试转变为持续性的教学改进动力。
小乐优阅本地项目负责人表示:“我们很高兴能凭借自身的技术与服务能力,为桂林市的教育发展贡献力量。未来,我们期待能深化合作,共同探索更多基于数据驱动的智慧教育解决方案。”
目前,基于本次联考的详细分析报告已通过小乐优阅平台陆续送达各校,桂林市各高中正以此为依据,积极调整并优化下一阶段的复习备考策略,助力学子们在2026年高考中再创辉煌。